you have pictures or a site with info? I doubt there is any realy good engine design other than rotary or piston type. Alot of people call rotary engines rotar engines, so you could also be mestaken.
It is desinged by some techni in Taiwan, so it have no offical English name, & no english website.
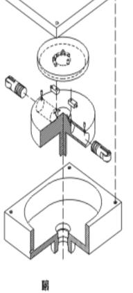
The designer call it Rotate Engine, But I think that planet engine is more appropriate
It's basicaly a modified rotary, and it looks like it would be very complicated to get it to actualy work. The design is unique, but it isn't realy all that great. Having the pistons mounted like that on rollers actualy defeats the point of having it rotate.
If anything the rotary engine is a better choice if LFS is going to add a new engine type.
why you think it is complicated?
It just have 13 parts, normal engine.......
I think this design is more simple.
many ppl think it is based on rotary(include the designer), but I think it more like the Radial engine.
The complication is in how you get it to ignite the mixture, since the combustion chambers are moving.
Rotarys are alot simpler than that, in all a rotary consists of only a housing, a rotor, and a main shaft with a lobe on it, there's only 2 moving parts in a single rotor engine if you exclude the oil pump, ect. If you get a two rotor engine it has a total of 3 moving parts, not including the oil pump assembly and anything on belt drives.
Rotary engines are good engines, alot of people think they have reliability problems, but I've seen general use rotary engines that have been siting for years just fire up on the first pull of the starter.
Last time I checked, there isn't any other car in FZ50's group and certainly no 4WD there. Besides, keep your discrimination elsewhere.
Flat-six placed behind the rear axle for a 40:60 weight distribution? Looking past skin deep it is quite based on the 911.
An FZTurbo would be nice if it's made 4WD, considering the 911 turbo is. I dunno, make the FZ50/FZT like GT3/Turbo? Could be cool, but I was just thinking a simple 4WD option would be easier as the turbo modeling isn't quite right yet.
So? Even if it was based on a Porsche 911 it would not have to be a 4WD. But it doesn't matter.
The reason I pointed the difference out was because gekkibi seemed to have read too much into what was written in the wiki. It is important that things like these are sorted so people won't be disappointed as they unlock S2 expecting something that's not there.
I don't thing they'd put anything that insane into LFS, but a nice rotary production car would add to the diversity of LFS. Hell, I'd buy a licence just to drive it. Not that I'm not going to get one anyway.
A flat 6, just like the real Porsche, for its balance (relative lack of vibration) and low COG. Also way easier to package in the confines of a rear engined car than other configuration.
A rotary might be nice, but to be realistic I don't think an owner of such a luxurious supercar covered in the finest leather would want to stain all that with a bottle of Amsoil's/Mobil's/Shell's/Redline's/Royal Purples's finest.
Unless someone comes up with an alternative to the classic F-6 turbo and beats it soundly overall, than we don't have any choices.
the 787b won the le mans 24hr, and didn't blow up OR leak oil. They banned it after because of "unfair weight advantages". I think they just banned it because they where afraid it would win again.
A rotary is smaller, lighter, and produces less vibration than even the best piston type engine. and you can get a good amount of power out of them to. I've seen 2 rotor engines puting out 300+ HP.
It would also add some variation to the engine types that LFS can simulate, simulating a rotary would be a huge addition to LFSs engine models.
I tryed to have a 4wd fz5 with lfs tweak when patch Y was out... Didnt work so well at all. Car handling was extremely wierd, however fz4T version sounds really sweet. Id like to drift that baby sometime in s3