4wd Fz50?
(109 posts, started )
Camless engine? What does that look like?

Dunno, sounds nice but wouldn't the FZ be a bit weird choice for such a car? i know there's the GT2 (which is nuts, RWD only, aye?) but still...
-100 for awd fz5
+100 for fz5t
Quote from Primoz :Camless engine? What does that look like?

Dunno, sounds nice but wouldn't the FZ be a bit weird choice for such a car? i know there's the GT2 (which is nuts, RWD only, aye?) but still...

how about a rotar engine?
(not rotary engine, rotar engine is a new piston engine style designed by Taiwanese)
Quote from scania :how about a rotar engine?
(not rotary engine, rotar engine is a new piston engine style designed by Taiwanese)

you have pictures or a site with info? I doubt there is any realy good engine design other than rotary or piston type. Alot of people call rotary engines rotar engines, so you could also be mestaken.
Quote from DragonCommando :you have pictures or a site with info? I doubt there is any realy good engine design other than rotary or piston type. Alot of people call rotary engines rotar engines, so you could also be mestaken.

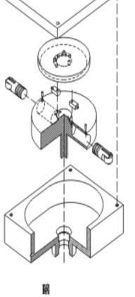
It is desinged by some techni in Taiwan, so it have no offical English name, & no english website.
The designer call it Rotate Engine, But I think that planet engine is more appropriate










Attached images
REngine.JPG
The working principle
Attached images
1.JPG
2.JPG
3.JPG
4.JPG
It's basicaly a modified rotary, and it looks like it would be very complicated to get it to actualy work. The design is unique, but it isn't realy all that great. Having the pistons mounted like that on rollers actualy defeats the point of having it rotate.

If anything the rotary engine is a better choice if LFS is going to add a new engine type.
Waiting for the vtec to kick in...
Attached images
rtry.jpg
Quote from DragonCommando :It's basicaly a modified rotary, and it looks like it would be very complicated to get it to actualy work. The design is unique, but it isn't realy all that great. Having the pistons mounted like that on rollers actualy defeats the point of having it rotate.

If anything the rotary engine is a better choice if LFS is going to add a new engine type.

why you think it is complicated?
It just have 13 parts, normal engine.......
I think this design is more simple.
many ppl think it is based on rotary(include the designer), but I think it more like the Radial engine.
Quote from frokki :Waiting for the vtec to kick in...

this engine have no valve, how the vtec work?
I just don't see the point when there already is a 4WD car in that group for those weird people who like them.
Quote from scania :why you think it is complicated?
It just have 13 parts, normal engine.......
I think this design is more simple.
many ppl think it is based on rotary(include the designer), but I think it more like the Radial engine.

The complication is in how you get it to ignite the mixture, since the combustion chambers are moving.

Rotarys are alot simpler than that, in all a rotary consists of only a housing, a rotor, and a main shaft with a lobe on it, there's only 2 moving parts in a single rotor engine if you exclude the oil pump, ect. If you get a two rotor engine it has a total of 3 moving parts, not including the oil pump assembly and anything on belt drives.

Rotary engines are good engines, alot of people think they have reliability problems, but I've seen general use rotary engines that have been siting for years just fire up on the first pull of the starter.
Quote from DragonCommando :The complication is in how you get it to ignite the mixture, since the combustion chambers are moving.

there are 3 hole on the rotar & rotar cover for intake, spark & exhast
Quote from Gekkibi :Before I bought a license, I even thought it would be 4WD (Because it is based on Porsche 911 [According to the manual]).

Wrong! It says it is resembling a Porsche 911. There's quite a difference.
Quote from Crommi :I just don't see the point when there already is a 4WD car in that group for those weird people who like them.

Last time I checked, there isn't any other car in FZ50's group and certainly no 4WD there. Besides, keep your discrimination elsewhere.

Quote from felplacerad :Wrong! It says it is resembling a Porsche 911. There's quite a difference.

Flat-six placed behind the rear axle for a 40:60 weight distribution? Looking past skin deep it is quite based on the 911.

An FZTurbo would be nice if it's made 4WD, considering the 911 turbo is. I dunno, make the FZ50/FZT like GT3/Turbo? Could be cool, but I was just thinking a simple 4WD option would be easier as the turbo modeling isn't quite right yet.
Quote from yoyoML :Flat-six placed behind the rear axle for a 40:60 weight distribution? Looking past skin deep it is quite based on the 911.

So? Even if it was based on a Porsche 911 it would not have to be a 4WD. But it doesn't matter.

The reason I pointed the difference out was because gekkibi seemed to have read too much into what was written in the wiki. It is important that things like these are sorted so people won't be disappointed as they unlock S2 expecting something that's not there.
Quote from yoyoML :
An FZTurbo would be nice if it's made 4WD, considering the 911 turbo is. I dunno, make the FZ50/FZT like GT3/Turbo? Could be cool, but I was just thinking a simple 4WD option would be easier as the turbo modeling isn't quite right yet.

A 911T has 480 hp already, thats's quite near to the FZR, which is like the GT2. The GT3 has 415 hp (almost perfect), but no turbo.

A 3-litre turbo with around 400 hp - that would be a good car.
I don't thing they'd put anything that insane into LFS, but a nice rotary production car would add to the diversity of LFS. Hell, I'd buy a licence just to drive it. Not that I'm not going to get one anyway.
I thought this thread was supposedly about a turbo rear engined 4WD
version of the FZ50 or equivalent. Please get back on topic?
Yes yes - but what sort of engine for the 4WD FZ5?
A flat 6, just like the real Porsche, for its balance (relative lack of vibration) and low COG. Also way easier to package in the confines of a rear engined car than other configuration.

A rotary might be nice, but to be realistic I don't think an owner of such a luxurious supercar covered in the finest leather would want to stain all that with a bottle of Amsoil's/Mobil's/Shell's/Redline's/Royal Purples's finest.

Unless someone comes up with an alternative to the classic F-6 turbo and beats it soundly overall, than we don't have any choices.
What is it with people and thinking that if you race a rotary it will blow up or leak oil?
just look at this

http://ca.youtube.com/watch?v= ... x5Rj8&feature=related

the 787b won the le mans 24hr, and didn't blow up OR leak oil. They banned it after because of "unfair weight advantages". I think they just banned it because they where afraid it would win again.

A rotary is smaller, lighter, and produces less vibration than even the best piston type engine. and you can get a good amount of power out of them to. I've seen 2 rotor engines puting out 300+ HP.

It would also add some variation to the engine types that LFS can simulate, simulating a rotary would be a huge addition to LFSs engine models.

Just listen to the thing run, no other engine type sounds quite like it
http://ca.youtube.com/watch?v= ... afw3g&feature=related
Quote from ponczak :-100 for awd fz5
+100 for fz5t

+1

I tryed to have a 4wd fz5 with lfs tweak when patch Y was out... Didnt work so well at all. Car handling was extremely wierd, however fz4T version sounds really sweet. Id like to drift that baby sometime in s3

4wd Fz50?
(109 posts, started )
FGED GREDG RDFGDR GSFDG